반응형

세안설비란?
긴급사워기 및 세안설비를 말한다.
[긴급샤워기]
긴급상황 발생 시 몸 전체를 세척하는 목적으로로 사용되는 설비
[세안설비]
눈을 세척하는데 사용되는 기구

긴급샤워기 및 세안설비는 액체ㆍ증기 또는 가스 및 분말 상태로 취급하는 장소에 설치하여야 한다.


[샤워기 제작자의 성능시험절차]
- 샤워기에 유량계를 연결한다.
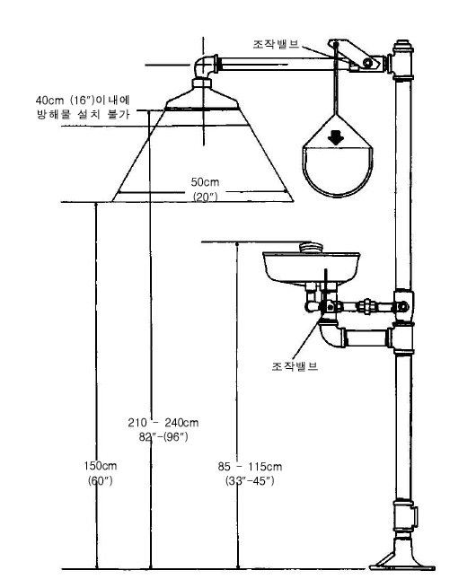
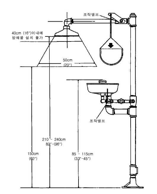
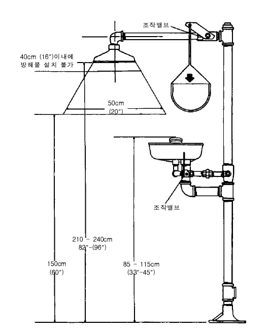
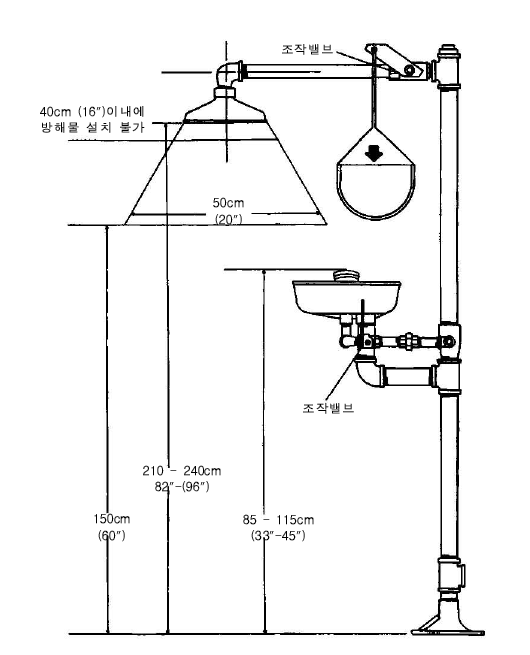
- 25 mm 이상의 세척용수 배관에 샤워기를 연결한다. 샤워꼭지의 높이가 바닥에서 210 cm(82in)가 되도록 하고 세척용수의 유량을 조절할 수 있는 유량조작밸브나 펌프를 준비한다.
- 긴급샤워기의 조작밸브를 여는 경우 조작밸브가 1초 이내에 열리고 열린상태로 있는 지를 확인한다.
- 분당 80 리터의 세척용수가 공급되도록 유량조작밸브를 조절하고 세척용수가 전면에 골고루 분사되는지를 확인한다. 바닥으로부터 150 cm(60in)의 높이에서 직경 50 cm(20in) 이상으로 분사되는 지를 확인한다.

10초이내에 도달할 수 있는 장소에 설치되어야 한다고 되어있으니 작업장별 하나씩은 설치를 해야합니다.

[세안설비 제작자의 성능시험절차]
- 세안설비에 유량계를 연결한다.
- 조작밸브를 여는 경우 조작밸브가 1초 이내에 열리고 열린 상태로 있는지를 확인한다.
- 분당 1.5 리터 이상의 세척용수가 공급되고 두 개의 물줄기가 거의 같은 높이까지 도달하며 사용자가 다치지 않는 정도의 압력인 지를 확인한다.



사업장에 세안설비를 설치하는것도 중요하지만 유지관리 하는것이 더욱 중요하다고 생각합니다. 주기적으로 작동상태를 점검하고 세척을 통해 항상 사용할 수 있는 상태로 관리하여야 합니다. 안전관리자의 업무는 점검표를 만들고 배포하여 주기적으로 시행할 수 있도록 교육하고 결과를 확인하는 방법으로 진행하면 좋겠죠.
반응형
'안전' 카테고리의 다른 글
| 중량물 취급 작업계획서(건설업/이동식크레인) (0) | 2021.08.31 |
|---|---|
| 인력운반 안전작업 방법 (중량물 취급방법) (0) | 2021.08.30 |
| 산업안전지도사는 도전할만한 가치가 있는 자격증인지 생각해보자 (1) | 2021.08.25 |
| 고용노동부 및 안전보건공단 사칭 교육사기 피해주의 (0) | 2021.08.24 |
| 아차사고관리를 통해 사고를 예방하자!! (아차사고관리 방법) (0) | 2021.08.12 |
댓글